Question 1: 关于理想气体的内能,下列说法正确的是
关于理想气体的内能,下列说法正确的是
- A. A. 理想气体存在分子势能
- B. B. 理想气体的内能是分子平均势能和平均动能的总和
- C. C. 一定质量的理想气体内能仅跟体积有关
- D. D. 一定质量的理想气体内能仅跟温度有关
Answer: D
关于理想气体的内能,下列说法正确的是
Answer: D
2 .如图所示为一定质量理想气体的状态沿 $1 \rightarrow 2 \rightarrow 3 \rightarrow 1$ 的顺序做循环变化的 $p - T$ 图像。 若用 $V - T$ 或 $p - V$ 图像表示这一循环,$T$ 为热力学温度,图中表示可能正确的选项是 ) 
Answer: A
一圆筒形真空容器,在筒顶系着的轻弹簧下挂一质量不计的活塞,弹簧处于自然长度时,活塞正好触及筒底,如图所示。当在活塞下方注入一定质量的理想气体、温度为 $T$ 时,气 柱高为 $h$ ,则当温度为 $T ^ { \prime }$ 时,气柱的高 $h ^ { \prime }$ 是 
Answer: C
4 .有甲、乙、丙、丁四位同学在做"研究气体实验定律实验",分别得到如下四幅图像(如图所示)。则如下的有关他们的说法,不正确的是( )  a  b  c  d
Answer: C
如图所示,一定质量的某种气体的等压线,等压线上的 $a 、 b$ 两个状态比较,下列说法正确的是( ) 
Answer: B
如图所示为内燃机的示意图,其原理结构简化模型就是一个汽缸活塞模型,活塞上部封闭一定质量的理想气体。如果活塞向上运动,关于内部气体(忽略与外界热交换)的说法正确的是( ) 
Answer: B
某次实验时,如图所示,试管中用水银柱封闭了一定质量的理想气体,一段时间后,发现水银柱往下移动了一定距离。则关于这个实验,下列说法正确的是 
Answer: B
8 .一定质量的理想气体,从外界吸收热量 500 J ,同时对外做功 100 J ,则气体
Answer: A
如图所示。一定质量的理想气体由状态 $A$ 经 $B$ 变到 $C$ 。其体积 
Answer: A
12 .一定质量的理想气体由状态 $a$ 等压膨胀到状态 $b$ ,再等容增压到状态 $c$ ,然后等温膨胀到状态 $d$ ,最后经过一个复杂的过程回到状态 $a$ ,其压强 $p$ 与体积 $V$ 的关系如图所示。下列说法正确的是 
Answer: C
封闭在汽缸内的一定质量的气体,如果保持气体体积不变,当温度从 300 K 升高到 600 K 时,以下说法正确的是( )
Answer: B
一定质量的理想气体,初始状态为 $p 、 V 、 T$ ,经过一系列状态变化后,压强仍为 $p$ ,则下列过程中能实现的是( )
Answer: D
如图所示,汽缸上下两侧气体由绝热活塞隔开,活塞与汽缸光滑接触•初始时活塞和两侧气体均处于平衡态,因活塞有质量所以下侧气体压强是上侧气体压强两倍,上下气体体积之比 $V _ { 1 } : V _ { 2 } = 1 : 2$ ,温度之比 $T _ { 1 } : T _ { 2 } = 2 :$ 5.保持上侧气体温度不变,改变下侧气体温度,使两侧气体体积相同,此时上下两侧气体的温度之比为( 
Answer: D
16 .如图所示,一定量的理想气体由状态 $A$ 经 $B$ 变到 $C$ ,其压强( ) 
Answer: A
如图所示为某理想气体的 $p - T$ 图像,下列说法正确的是() 
Answer: D
中医拔罐疗法在中国有着悠久的历史,早在成书于西汉时期的帛书《五十二病方》中 就有类似于后世的火罐疗法。其方法是以罐为工具,将点燃的纸片放入一个小罐内,当纸片燃烧完时,迅速将火罐开口端紧压在皮肤上,火罐就会紧紧地"吸"在皮肤上,造成局部瘀血,以达到通经活络、行气活血、消肿止痛、祛风散寒等作用的疗法。在刚开始的很短时间内,火罐"吸"在皮肤上的主要原因是
Answer: C
19 .以下说法正确的是
Answer: A
20 .如图所示是一种火炮的复位装置示意图,开炮时,炮管反冲带动连杆活塞使油压缩空气,此过程空气跟外界没有热传递,反冲结束后,被压缩的空气推动活塞使炮管复位,设开炮前封闭空气的压强为 $p _ { 1 }$ ,热力学温度为 $T _ { 1 }$ ,体积为 $V _ { 1 }$ ,炮管反冲使空气的热力学温度为 $T$ ,体积压缩为 $V 2$ ,则反冲后空气的压强为 
Answer: C
一定质量的理想气体,在温度不变的情况下压强变为原来的 2 倍,则体积变为原来的
Answer: C
22 .一根足够长的试管开口坚直向下,中间用水银封闭了一定质量的理想气体,如图所示。现将试管绕定点缓慢向右转到虚线处,则下列图像中可能正确的是() 
Answer: D
关于理想气体,正确说法是( )
Answer: C
如图所示,内壁光滑的汽缸坚直放置在地面上, T 形活塞的质量为 $M$ ,下底面积为 $S$ ,上底面积为 $4 S$ ,若大气压强为 $p _ { 0 }$ ,则被封闭气体的压强 $p$ 等于( )
Answer: C
一定质量的理想气体状态变化的 P--T 图,如图所示,若用 $\rho _ { a } , \rho _ { b } , \rho _ { c }$ 和 $\mathrm { Va } 、 \mathrm { Vb } 、 V c$ 分别表示气体在 $a 、 b 、 c$ 三种状态下的气体的密度和体积则() 
Answer: B
分子动理论较好地解释了物质的宏观热力学性质。据此可判断下列说法中正确的是 (
Answer: C
28 ."早穿皮袄午穿纱,抱着火炉吃西瓜",形容我国新疆吐鲁番地区地昼夜温差大的自然现象,利用这一特点可以制作品质优良的葡萄干。现有一葡萄晾房四壁开孔,如图,房间内晚上温度 $7 ^ { \circ } \mathrm { C }$ ,中午温度升为 $37 ^ { \circ } \mathrm { C }$ ,假设中午大气压强比晚上减少 $7 \%$ ,则中午房间内逸出的空气质量与晚上房间内空气质量之比( ) 
Answer: A
如图所示,一根上细下粗、粗端与细端都均淘的玻璃管上端开口、下端(粗端)封闭,上端足够长,下端(粗端)中间有一段水银封闭了一定质量的理想气体.现对气体缓慢加热,气体温度不断升高,水银柱上升,则被封闭气体的体积与热力学温度的关系最接近下图中的( )
Answer: A
一定质量理想气体从初始状态 $A$ 经状态 $B$ 、 $C 、 D$ 再回到状态 $A$ ,其体积 $V$ 与温度 $T$ 的关系如图所示。下列说法正确的是( ) 
Answer: B
题图为伽利略设计的一种测温装置示意图,玻璃管的上端与导热良好的玻璃泡连通,下端插入水中,玻璃泡中封闭有一定量的空气.若玻璃管内水柱上升,则外界大气的变化可能是( ) 
Answer: A
32 .下列说法正确的是
Answer: D
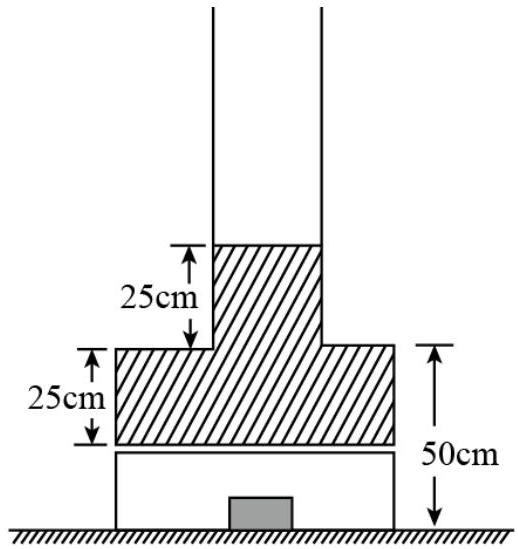
如图所示,一个顶端开口的绝热汽缸坚直放置,上部汽缸高 100 cm ,下部汽缸高为 50 cm ,上下两部分内部横截面积分别为 $S$ 和 $2 S$ ,下部用绝热轻活塞封闭一定质量的气体,汽缸底部有一电热丝(不计体积和质量)可对气体加热,活塞上方有水银,当气体温度为 $27 ^ { \circ } \mathrm { C }$ 时下部水银柱高 25 cm ,上部水银柱高 25 cm ,已知大气压为 75 cmHg ,活塞厚度不计,则  电热丝
Answer: B
如图所示,坚直放置的粗细均匀的 U 形试管,横截面积 $S = 5 \mathrm {~cm} ^ { 2 }$ ,左侧管长 $l = 25 \mathrm {~cm}$ 且封闭了一定质量的理想气体,右管足够长且管口开口,初始时左右两管水银面高度相等,高度 $h = 10 \mathrm {~cm}$ ,已知周围环境温度 $T _ { 0 } = 300 \mathrm {~K}$ ,大气压强 $p _ { 0 } = 75 \mathrm { cmHg }$ 。现对左侧密闭气体缓慢加热,直至两管水银面形成 10 cm 的高度差,再保持此温度不变不变的情况下,从右侧管口缓慢加入水银,使得左侧管内气体恢复最初的体积,则加入的水银的体积约为( ) (结果均保留三位有效数字) 
Answer: B
如图所示,一定质量的氢气(可看作理想气体)由状态 $A$ 经状态 $B$ 变化到状态 $C$ ,设由 $A$到 $B$ 、由 $B$ 到 $C$ 的过程外界对气体做的功分别为 $W _ { 1 } 、 W _ { 2 }$ ,气体从外界吸收的热量分别为 $Q _ { 1 } 、 Q _ { 2 }$ ,则() 
Answer: B
36 .下列说法正确的是( )
Answer: A
如图所示,绝热容器中用活塞封闭一定质量的理想气体(活塞绝热),现压缩气体,此过程中( ) 
Answer: C
如图所示,一端开口,另一端封闭的玻璃管内用水银柱封住一定质量的空气,当开口向下坚直放置时,下水银面恰与管口相平。现使玻璃管绕管口转过 $30 ^ { \circ }$ 角,则被封闭的气体() 
Answer: A
如图所示, $20 ^ { \circ } \mathrm { C }$ 的氧气和 $10 ^ { \circ } \mathrm { C }$ 的氢气体积相同,水银柱在连通两容器的足够长的细管中央,当氧气和氢气的温度都升高 $10 ^ { \circ } \mathrm { C }$ 时,水银柱( ) 
Answer: B
40 .汽缸竖直放于水平地面上,缸体质量 $M = 4 \mathrm {~kg}$ ,活塞质量 $m _ { 0 } = 2 \mathrm {~kg}$ ,活塞横截面积 $S = 2 \times 10 ^ { - 3 } \mathrm {~m} ^ { 2 }$ 。活上方的汽缸内封闭了一定质量的理想气体,下方通过气孔 $P$ 与外界相通, 大气压强 $p _ { 0 } = 1.0 \times 10 ^ { 5 } \mathrm {~Pa}$ 。活塞下面与劲度系数 $k = 2 \times 10 ^ { 3 } \mathrm {~N} / \mathrm { m }$ 的轻弹簧相连,当汽缸内气 体温度为 $12 ^ { \circ } \mathrm { C }$ 时弹簧为自然长度,此时缸内气柱长度 $L _ { 1 } = 20 \mathrm {~cm}$ 。已知 $T = ( 273 + t ) \mathrm { K } , g$ 取 $10 \mathrm {~m} / \mathrm { s } ^ { 2 }$ ,活塞不漏气、与缸壁无摩擦,且始终未达到 $P$ 孔。现给封闭气体加热,则下列说法错误的是( )  《2025年10月30日高中物理作业》
Answer: C
理想气体状态方程
37 Questions pratiques
Examen réel : 48 questions mélangeant tous les sujets, limite de 60 minutes, sans indices. Beaucoup d'étudiants réussissent les sujets séparément mais échouent quand ils sont mélangés.
Explore other subject practice: